
Принципы построения лазерных выводных устройств
Продолжение. Начало в № 5`2004
По типу модулятора лазерного излучения выводные устройства можно разделить на четыре типа. В устрой-ствах первого и второго типа для изменения интенсивности излучения газового или твердотельного лазера применяются соответственно электрооптические и акустооптические модуляторы. К устройствам третьего типа относятся выводные устройства, полупроводниковыми лазерами, а модуляция лазерного луча в них осуществляется за счет управления мощностью излучения лазерного диода. В устройствах четвертого типа используются линейные или матричные многоканальные электрооптические или магнитооптические световые затворы.
Принцип работы электрооптического модулятора (ЭОМ) основан на линейном электрооптическом эффекте. При воздействии на электрооптический кристалл электрического поля в результате двойного лучепреломления изменяется направление поляризации прошедшей через кристалл световой волны. Если электрооптические кристаллы поместить между поляризаторами с ортогонально направленными осями поляризации и на вход этой системы направить лазерный пучок с поляризацией, соответствующей поляризации входного элемента, то при отсутствии напряжения на электродах кристаллов световой поток на выходе второго поляризатора (анализатора) тоже будет отсутствовать. При подаче на электроды управляющего напряжения возникнет выходной световой поток, интенсивность которого достигает максимума при некотором значении этого напряжения, называемого полуволновым. Таким образом, изменяя напряжение, подаваемое на электроды, можно осуществлять модуляцию светового потока. Время переключения электрооптического модулятора из одного состояния в другое может составлять всего 10–8 с и менее. Для переключения ЭОМ требуется высокое управляющее напряжение, превышающее 100 В. К недостаткам ЭОМ, помимо использования высокого управляющего напряжения, следует отнести зависимость параметров от температуры и низкий коэффициент контрастности (порядка 100), представляющий собой отношение между максимальной и минимальной световой мощностью излучения, которое проходит через модулятор. В последнее время модуляторы этого типа уступают место акустооптическим (АОМ).
Принцип действия АОМ основан на дифракции поляризованного света на бегущей ультразвуковой волне в оптически прозрачном материале. Если на акустопровод, в котором с помощью пьезоэлектрического преобразователя возбуждена бегущая ультразвуковая волна, подать пучок света, то благодаря возникновению участков сжатия и растяжения, различающихся показателем преломления, эта область акустопровода будет действовать на падающий свет как дифракционная решетка. Световой пучок, дифрагируя на решетке, образует несколько выходных пучков максимумов интенсивности излучения различных порядков, разнесенных в пространстве по направлению.
Особый практический интерес представляет случай, когда свет (лазерный пучок) направляется на кристалл под так называемым углом Брэгга. При этом наблюдается дифракция Брэгга, которая характеризуется тем, что интенсивности всех дифракционных максимумов, кроме первого, становятся пренебрежимо малыми. В процессе модуляции лазерный пучок может или проходить через акустооптический кристалл без изменения направления и интенсивности, или переходить в дифрагированный пучок, преломленный под углом Брэгга.
АОМ работает следующим образом. Луч света I проходит через кристалл и попадает на диафрагму, которая преграждает ему путь. В этом случае модулятор прерывает световой поток. При подаче на кристалл акустической волны с помощью пьезопреобразователя наблюдается явление дифракции, и из кристалла выходит луч света I1. Направление этого луча выбирают так, чтобы оно совпадало с направлением оптической оси системы. Допустимые частоты модуляции для АОМ определяются упругооптическими свойствами акустической среды и временем прохождения акустической волны через апертуру светового луча и достигают 10 МГц.
Основные преимущества АОМ по сравнению с ЭОМ низкие управляющие напряжения (порядка 10 В), высокий коэффициент контрастности (до 1000), независимость параметров модуляции от температуры, использование неполяризованного света, отсутствие в конструкции модулятора склеек оптических элементов (что существенно уменьшает потери света), возможность работы в режиме модулятора и дефлектора.
Акустооптический дефлектор (АОД) работает следующим образом. Для отклонения луча на разные углы на кристалл пьезопреобразователем подают акустические волны разной частоты. Для последовательного отклонения луча на угол
1,
2, ...,
m последовательно подают акустические волны с частотой
1,
2 , ...,
m. При этом угол отклонения луча
i линейно связан с частотой акустической волны
i:
,
,
где
3 скорость звуковой волны;
длина волны света.
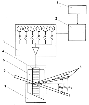
Акустооптический дефлектор в лазерном сканирующем устройстве может использоваться в качестве многоканального модулятора. Фрагмент схемы такого сканирующего устройства приведен на рис. 1. Процессор 1 через промежуточный (согласующий) блок 2 фотонаборного (записывающего) устройства управляет высокочастотным генератором 3 электрического напряжения. В зависимости от уровня управляющего напряжения (на выходе блока 2 ) генератор формирует выходные сигналы с шестью различными частотами
1
6 (в диапазоне 200-250 МГц). Лазерный луч 6 , падающий на акустооптическую среду 5 , в зависимости от частоты
отклоняется дифракционной решеткой 4 дефлектора 7 на различные углы
. Поэтому выходные (дифрагированные) лучи 8 распространяются по различным направлениям (вертикально отклоняются в разной степени). При фокусировке оптических лучей на размещенный на барабане регистрирующий материал с использованием одного акустооптического дефлектора удается получить шесть пишущих пучков лазерного излучения.
Строчное сканирование при плоскостной записи одновременно по шести параллельным каналам обеспечивается благодаря использованию вращающегося многогранного зеркального дефлектора.

Рис. 1. Акустооптический дефлектор в сканирующем устройстве лазерного фотонаборного автомата
Известны акустооптические дефлекторы, например MGPD-800-400 фирмы Brimrose (США), у которых 8, 16 или 32 канала управляются частотой 800 МГц.
Управление полупроводниковыми лазерами (лазерными диодами) обеспечивается схемотехническими приемами и средствами и потому является относительно несложным. Мощность излучения Pизл полупро-водникового лазера (рис. 2 а ) зависит от инжекционного тока IЛД (тока возбуждения) в активной зоне лазерного диода (ЛД). При небольших уровнях тока IЛД полупроводниковый лазер действует как светодиод и генерирует некогерентное оптическое излучение небольшой мощности. При достижении порогового уровня тока IЛД в лазерном резонаторе генерируются когерентные оптические колебания и резко возрастает мощность излучения Pизл . Генерируемая мощность Pизл в этом режиме пропорциональна уровню тока IЛД. Таким образом, возможности изменения (переключения, модуляции) мощности излучения полупроводникового лазера однозначно связаны с целенаправленным изменением инжекционного тока IЛД.

Рис. 2. Диаграммы управления мощностью излучения полупроводникового лазера в режимах цифровой (а) и аналоговой (б) модуляции
В импульсном режиме действия лазерного диода его рабочая точка М (см. рис. 2 а ) фиксируется на пологом участке ватт-амперной характеристики Pизл =
(IЛД) в предпороговой области лазера. Резкое увеличение тока IЛД переводит рабочую точку на крутой участок характеристики (например, в положение N ), что гарантирует возбуждение и интенсивный рост мощности лазерных колебаний. Спад тока IЛД и перевод рабочей точки лазера в исходное положение М обеспечивают срыв лазерных колебаний и резкое снижение выходной мощности лазерного излучения.
В аналоговом режиме модуляции лазерных колебаний рабочая точка Q фиксируется на крутом участке ватт-амперной характеристики (рис. 2 б ). Изменение тока IЛД под действием внешнего информационного сигнала приводит к пропорциональному изменению выходной мощности полупроводникового лазера.
Для многолучевой записи применяются многоканальные световые затворы LSA (light switching arrays), модулирующие свет под действием электрического или магнитного воздействия. Световые затворы выполнены в виде однорядной или многорядной линейной матрицы с зигзагообразным (шахматным) расположением светоклапанных ячеек. Например, магнитооптическая LSA представляет собой матрицу ячеистой структуры, образованной токопроводящим слоем, нанесенным на эпитаксиальную пленку феррит-граната, содержащего висмут.
При просвечивании поляризованным светом LSA формирует двумерную светоконтрастную картину в соответствии с последовательностью управляющих импульсов, подаваемых на комбинацию автоматически управляемых ячеек. Таким образом модулируется подсветка точек синтезируемой строки растра. В данном случае используется принцип оптической модуляции в прозрачных ферромагнетиках на основе эффекта Фарадея. Ферромагнитная пленка, в которой осуществляется этот процесс, эпитаксиально выращивается на монокристаллической подложке. Часть пленки удаляется путем травления так, что остаются только островки ферромагнитного материала. Они и определяют ячеистую структуру LSA, в соответствии с которой между ячейками (островками) наносятся токопроводящие слои, разделенные диэлектриком. В каждой ячейке заключен один домен (область однонаправленного намагничивания точечных элементов материала), лишенный возможности перемещения или взаимодействия с соседними ячейками. Таким образом, ячейка является основным переключающим элементом пленки, способным хранить два информационных состояния. Состояние переключения участка пленки связано с двумя взаимно противоположными направлениями намагничивания. Причиной бистабильности ферромагнитной пленки является свойственная ей одноосная магнитная анизотропия, ось легкого намагничивания которой перпендикулярна плоскости пленки. Плоскость поляризации линейно-поляризованного света, пропускаемого пленкой, может поворачиваться либо влево, либо вправо в зависимости от направления намагничивания в данный момент. Пропускаемый свет, колеблющийся в одной из плоскостей поляризации на выходе, блокируется затем анализатором, установленным за пленкой. Матричная адресация сигналов обеспечивает переключение выбираемой комбинации ячеек, осуществляемое при совпадении импульс-ных полутонов. Величина поля переключения ячеек достаточно велика, в силу чего величина управляющих токов составляет несколько амперов.
Помимо магнитооптического кристалла в LSA входят интегральные схемы, декодирующие поступающую информацию о включаемой комбинации ячеек и адресующие соответствующие сигналы управления. Среднее время переключения ячеек в LSA составляет от 1 до 10 мкс.
По типу развертывающего элемента (дефлектора) лазерные сканирующие устройства можно разделить на устройства, в которых используются оптико-механические дефлекторы с колеблющимися или вращающимися зеркалами, и на акустооптические дефлекторы. Применение того или иного типа дефлектора в основном определяется схемой построения выводного устройства, а точнее типом развертки изображения при его записи.
Оптико-механическая развертка используется в устройствах с плоскост-ной записью линейных растровых линий на светочувствительном материале, который расположен в плоскости (рис. 3 а ) или на наружной образующей поверхности цилиндра (рис. 3 б ), а также с цилиндрической записью на внутреннюю (рис. 3 в ) или внешнюю (рис. 3 г ) образующие поверх-ности цилиндра. Разновидностью последней схемы развертки является вариант, в котором отсутствуют дефлекторы. В этом случае материал, расположенный на внешней поверхности барабана (рис. 4), экспонируется матрицей лазеров. При этом развертка по Х осуществляется матрицей лазеров за счет вращения барабана, а по Y перемещением матрицы лазеров вдоль его оси.

Рис. 3. Основные схемы оптико-механических разверток изображения в лазерных сканирующих устройствах

Рис. 4. Схема оптико-механической развертки изображения при многолучевом сканировании
Существующие сегодня акустооптические дефлекторы имеют разрешение до 2500 точек, частоту сканирования, обеспечивающую скорость записи информации 1 Мбит/с, угол отклонения 5-6°. Из-за невысокого разрешения и малого угла отклонения АОД они обычно используются как дополнительные дефлекторы (например, при субрастровой записи изображения) и в системах коррекции положения лазерного луча для небольших отклонений лазерного луча, компенсирующих неточность сканирующей системы.
Пример использования АОД при субрастровом методе записи показан на рис. 5. В этом случае записывающая головка, оснащенная лазером 1 , зеркалом 2, акустооптическим модулятором 3 и фокусирующим объективом 4 , совершает непрерывное возвратно-поступательное движение по одной оси координат и стартстопное поступательное движение по другой оси. Акустооптический модулятор 3 работает в режиме акустооптического дефлектора, производя одновременно модуляцию и отклонение луча перпендикулярно возвратно-поступательному движению записывающей головки. Таким образом, за один проход головки от одного края пластины 5 до другого записывается полоска изображения небольшой ширины. После записи полоски на пластине, размещенной на вакуумной плите, записывающая головка перемещается на ширину этой полоски и записывает следующую полоску и т.д. В результате изображение на формной пластине формируется из отдельных полосок, записанных ортогональными точечно-растровыми строками небольшой длины.
АОД могут быть и двухкоординатными. В этом случае дефлектор содержит две акустические ячейки, одна из которых используется для откло-нения луча по оси X , другая по оси Y .

Рис. 5. Схема формирования изображения при субрастровой форме записи

Рис. 6. Оптико-механические зеркальные дефлекторы
Оптико-механические колебательные дефлекторы (рис. 6 а ) обычно состоят из ротора и укрепленного на нем зеркала, которое помещено в переменное магнитное поле. С ротором жестко связана пружина, создающая вращательный момент. Для записи с постоянной линейной скоростью луча управление дефлектором должно осуществляться напряжением, изменяющимся по определенному, например пилообразному, закону. Известные колеблющиеся дефлекторы обеспечивают угол отклонения до 30° при частоте колебаний в несколько сотен герц. Основной недостаток колеблющихся дефлекторов относительно низкие скорости сканирования, причем чем больше размер зеркала, тем ниже скорость.
Оптико-механические дефлекторы с вращающимися зеркалами в зависимости от требований, предъявляемых к сканирующему устройству, могут иметь одну или больше отражающих поверхностей.
Системы с одной отражающей поверхностью (рис. 6 б ) обеспечивают наивысшее качество воспроизведения. Одногранные вращающиеся дефлекторы называют спинерами. В современных лазерных выводных устройствах частота вращения спинеров достигает 50 тыс. об./мин.
Дефлекторы с несколькими отражающими поверхностями (гранями) могут быть либо пирамидальными, либо призменными (рис. 6 в, г ). Многогранные дефлекторы позволяют наиболее эффективно использовать время рабочего цикла (полезное время может достигать 90%), что обеспечивает высокую скорость сканирования до 50 Мбит/с, при высокой разрешающей способности до 40 тыс. элементов на строку. В лазерных сканирующих устройствах с большим форматом записи и высокой разрешающей способностью обычно применяются зеркальные призмы или пирамиды с числом граней от 3 до 8. В некоторых высокоскоростных печатающих устройствах число граней может достигать 36.
Из-за высокой частоты вращения зеркал их изготовляют из высоко-прочных сплавов, обеспечивающих минимальную деформацию граней под действием центробежных сил, причем погрешность положения граней не превышает десятых долей угловой секунды.
В качестве опор многогранников используют сверхточные шариковые подшипники и подшипники на воздушной подушке. Поверхности зеркал вращающихся дефлекторов делают либо плоскими, либо криволинейными. Криволинейные поверхности с фокусирующим объективом участвуют в фокусировке луча на светочувствительном материале.
Известны многогранные зеркальные двухкоординатные дефлекторы, выполненные из пакета соединенных между собой полос плоскопараллельных пластин, расположенных веером на общей оси вращения.
Отражающее покрытие выполнено на меньшей боковой грани, ориентированной наклонно к основанию пластины. При вращении каждая последующая боковая грань записывает строку изображения, сдвинутую по вертикали на шаг кадровой развертки.
Одним из эффективных решений повышения точности записи изображения является применение в качестве одногранного вращающегося зеркала пентапризмы 1 (рис. 7 ), установленной непосредственно на валу электродвигателя 2 . Оптическая особенность пентапризмы заключается в том, что угол между входящим и выходящим лучами всегда составляет 90° независимо от того, как точно расположены входная и выходная грани. Это позволяет существенно снизить требования к точности ее установки на валу электродвигателя.

Рис. 7. Дефлектор в виде вращающейся пентапризмы при неточной (а) и точной (б) установке на валу электродвигателя

Рис. 8. Голографический дефлектор
Одной из разновидностей многогранных зеркальных дефлекторов является голографический дефлектор (рис. 8), представляющий собой стеклянную основу 1 с нанесенной на нее голограммой 2 . Лазерный луч 5 , падающий на голограмму отклоняется от своего исходного положения 3 в положение 4 . При этом голограмма записывается так, что при ее сканировании лучом каждый последующий элемент рисунка голограммы осуществляет дополнительное отклонение этого луча.
Из таких голографических дефлекторов в выводном устройстве (рис. 9) образуют гологонное зеркало 4 , которое устанавливается на ось электродвигателя 2 . При вращении двигателя лазерный луч 1 попадает на разные элементы рисунка голограммы и по-следовательно отклоняется, постепенно увеличивая угол отклонения. Сфокусированный объективом 5 лазерный луч 6 осуществляет развертку изображения на экспонируемом материале 7 . Из-за сложности изготовления голографических дефлекторов они не нашли широкого распространения.

Рис. 9. Схема развертки с голографическим дефлектором
Ошибки в углах наклона зеркальных граней оптико-механических дефлекторов, вызванные недостаточной точностью их изготовления и возникающие из-за износа опор вращения, требуют коррекции пространственного положения лазерного луча в процессе эксплуатации. В существующих устройствах применяются следующие методы компенсации: пассивная оптическая коррекция, динамическая авторегулировка и программная синхронная коррекция.
Пассивная оптическая коррекция основана на применении в оптической системе цилиндрической и тороидальной оптики. Этот метод компенсации ошибок угла наклона дефлектора представлен на рис. 10. Из рисунка видно, что хотя ошибка угла наклона
грани (плоскости А ) приводит к отклонению оси конического отраженного пучка света, пятно в плоскости регистрации (плоскость В) по-прежнему отображается в нужную точку. Применение оптической коррекции позволяет ослабить требования к точности углового положения граней дефлектора в 20-100 раз.

Рис. 10. Схема оптической компенсации ошибок угла наклона граней дефлектора
В определенной степени оптическая коррекция может быть осуществлена за счет того, что в многограннике развертывающей системы плоские отражающие грани выполнены на дополнительных призмах, установленных в основании. При вращении многогранного дефлектора вокруг оси происходит изменение угла падения луча на его грань и соответственно изменение углового положения в пространстве отходящего от многогранника (выходного) луча. При этом поворот многогранника вокруг других осей (биение) не изменяет углового положения выходного луча в плоскости, перпендикулярной направлению развертки. Это позволяет более точно (при одном и том же классе используемого для изготовления оборудования) выполнить двугранные углы и тем самым существенно (как минимум в четыре раза) повысить точность многогранника.
Динамическая авторегулировка и программная синхронная коррекция являются более совершенными методами и основаны на изучении закона движения лазерного луча для каждой грани дефлектора. В соответствии с этим законом управляют дополнительным отклонением лазерного луча, компенсирующим угловые ошибки дефлектора.
При использовании метода динамической авторегулировки в процессе сканирования отслеживают положение лазерного луча в реальном времени. Измеряют отклонения, вызванные неточностью углов наклона граней дефлектора, и в результате получают сигналы для автоматического управления коррекцией луча.
Корректирующее отклонение луча может осуществляться различными способами, например с помощью компенсирующего зеркала, установленного на пьезоэлементе. На пьезоэлемент поступают электрические сигналы, обеспечивающие перемещение по определенному закону компенсирующего зеркала, которое и корректирует положение луча. Для дополнительного отклонения луча при его пространственной коррекции в некоторых сканирующих устройствах применяют акустооптические дефлекторы.
На рис. 11 приведена схема лазерного сканирующего устройства с коррекцией положения луча по методу динамической авторегулировки. В этом устройстве луч лазера 1 модулируется акустооптическим модулятором 2 . Для дополнительного отклонения луча по осям Х и Y служат соответственно акустооптические де-флекторы 3 и 4 . Значение дополнительного отклонения
и
определяется частотами
x и
y ультразвуковых волн в акустооптических дефлекторах, которые задают управляющим устройством. Затем луч проходит через телескопическую систему 5 и попадает на вращающийся от электродвигателя 7 зеркальный призменный дефлектор 6 . Объектив 8 фокусирует луч в плоскости светочувствительного материала 9.

Рис. 11. Сканирующее устройство с системой коррекции на основе акустооптических дефлекторов
Известны и другие технические решения когда, например, регистрация величины и знака угловых биений оси вращения зеркального дефлектора проводится интерференционным датчиком с фотоприемником. При этом корректирующий сигнал также подается на дополнительный акустооптический дефлектор.
При программной синхронной коррекции предварительно изучают закон движения для каждой грани зеркального многогранника, вводят сигнал коррекции в память управляющего устройства и осуществляют периодическое дополнительное отклонение луча в соответствии с этим сигналом.
В выводных устройствах с внешним барабаном на геометрические размеры точки влияют погрешности изготовления барабана, его установки, различные виды биений, возникающие из-за износа подшипников в опорах вращения. Максимальное воздействие оказывают отклонения барабана от идеальной формы и эксцентриситет, обусловливающие при вращении барабана изменение расстояния от поверхности формной пластины до записывающей головки на величину
, что приводит к расфокусировке лазерного луча. В связи с этим современные формовыводные устройства оснащены системой автоматической фокусировки пятна лазерного излучения на поверхности форм-ного барабана.
Работа дефлектора должна быть согласована (синхронизована) с работой модулятора. В известных лазерных сканирующих устройствах син-хронизация осуществляется в основном за счет определения положения лазерного луча в ходе развертки растровой строки с помощью измерительных устройств, связанных с дефлектором или расположенных в плоскости изображения. Этот способ реализуется посредством применения систем отсчета синхроимпульсов на основе шкал на растровых дисках и линейках, а также на основе лазерного интерферометра.
Сигналы синхронизации в системах отсчета с круговыми шкалами поступают от датчика, состоящего из двух соосно расположенных прозрачных дисков с несколькими группами непрозрачных рисок (рис. 12). Один из дисков 2 закреплен на валу оптико-механического зеркального дефлектора 1 и вращается совместно с ним. Второй растровый диск 3 неподвижен. Число групп непрозрачных рисок 4 равно числу зеркальных граней дефлектора. Синхроимпульсы создаются и регистрируются двумя парами светодиодов 5 и фототранзисторов 6 , расположенных на двух диаметрально противоположных сторонах дисков. Фокусирующий объектив обеспечивает равномерное движение лазерного луча вдоль строки сканирования, поэтому, зная угловое перемещение дефлектора, можно точно определить положение лазерного луча в плоскости изображения. Для запуска схемы синхронизации применяется детектор начала строки сканирования.

Рис. 12. Система отсчета синхроимпульсов на основе круговой шкалы
Высокую точность позиционирования и синхронизации может обеспечить датчик, отслеживающий положение лазерного луча непосредственно в плоскости изображения. Таким датчиком служит растровая линейка полоса прозрачного материала, на которую. нанесен растр из непрозрачных рисок. Растровая линейка сканируется вспомогательным лазерным лучом синхронно с разверткой основного записывающего луча. Свет, прошедший сквозь линейку, собирается фотоприемником, а на выходе формируются синхронизирующие импульсы. Частота растровых рисок на линейке определяется требуемым разрешением в горизонтальном на-правлении.
В качестве фотоприемника используется фотодиод, длина активной зоны которого равна длине растровой линейки. При использовании точечных фотоприемников световой луч, перемещающийся по растровой линейке, сводится в неподвижную точку с помощью эллиптического зеркала, установленного за растровой линейкой. В одном из фокусов зеркала расположен фотоприемник, а в другом отражающая грань дефле-к-тора.
Для сбора света, прошедшего линейку, может использоваться и кварцевый параллелепипед, покрытый алюминием всюду, кроме торцов. Световые сигналы преобразуются в электрические с помощью двух фотоэлектрических умножителей, расположенных с торцов параллелепипеда.
Применение растровых линеек требует дополнительного луча, который создается либо делением основного луча на два, либо вторым лазером, и в обоих случаях это значительно усложняет оптическую систему сканирующего устройства.
Известны сканирующие устрой-ства, в которых применен лазерный интерферометр с несимметричным ходом лучей относительно оси поворота колеблющегося зеркального дефлектора.